חיות תחת ניהול אוטומטי בהקשר היסטורי
החיים בזבל אוכל ומים ללא מגע יד אדם אוכל מהיר ומים בלחץ בקרת אקלים ממוחשבת תגובה אוטומטית אישית
אוטומציה כבדרך-אגב
חייהם של בעלי-חיים במשקים חקלאיים תעשייתיים גדולים, מנוהלים כיום במידה רבה על-ידי ציוד אוטומטי. מערכות אספקת המזון, אספקת המים, בקרת האקלים, התאורה, פינוי הפסולת ומערכות נוספות – פועלות ללא פיקוח אנושי ישיר אלא באמצעות תגובה מתוכנתת מראש של ציוד חקלאי. האוטומציה במשקי בעלי-חיים התפתחה במקביל לאוטומציה בתעשיות אחרות, ללא תשומת-לב מיוחדת להשגת שליטה מכנית בחייהן של חיות דווקא.
הניכור הכרוך באוטומציה בולט לעין ומעורר חשד שהציוד האוטומטי פוגע בחיות, אך ההמצאות האוטומטיות לא גרמו ישירות לסבל או לדיכוי הדחפים הטבעיים. למעשה, באופן נקודתי, כמעט כל המצאה חדשה דווקא שיפרה את איכות החיים במשק בהיבט מסוים. זאת, בדרך-כלל, מאחר שההמצאת הציוד האוטומטי באה לענות על התדרדרות בתנאי החיים במשק, לרוב כתוצאה מהניסיון להחזיק חיות רבות יותר ויותר בצפיפות גוברת, מבלי לתת לכך מענה מספק בהשקעת עבודה. כך, כשמביטים על התהליך ההיסטורי הכולל, מסתבר שהאוטומציה תרמה בעקיפין להתדרדרות תנאי החיים במשקים, כי פיתוח המכשור האוטומטי עודד את התרחקות החקלאים מהחיות ואת הכחדת תנאי החיים הטבעיים.
בבריטניה, חלוצת התיעוש החקלאי, התרחקות החקלאים מהחיות החלה זמן רב לפני הופעת האוטומציה, בתהליך הדרגתי של הגדלת מספר החיות שכל חקלאי אחראי עליהן. שינוי היחס המספרי בין החקלאים לחיות הוא חלק ממגמת הייעול של השיטות החקלאיות. הייעול כפרויקט מתמיד ודאי נראה כיום בעינינו מובן מאליו – הרי כך מתנהל העולם בימינו – אולם מדובר בגישה המנוגדת לרוח החקלאות המסורתית, אשר בוטחת לא בחידוש המתמיד אלא בניסיון הבדוק של הדורות הקודמים. המסורתיות נשחקה בחקלאות הבריטית במשך מאות שנות מאמצי ייעול, והמצאת פרטי ציוד אוטומטיים בבריטניה ובארצות-הברית כבר לא נתקלה בהסתייגויות ניכרות.
החיים בזבל
ארכיטקטורה מניפולטיבית
במרעה החופשי אין מקום רב לאוטומציה, אך מבנים סגורים היוו משלב מוקדם מוקד לפיתוח ציוד אוטומטי. תשומת-לב רבה הופנתה לפיתוח ציוד כזה בתחום שהוא אולי השנוא ביותר על החקלאים: פינוי הצואה והשתן של בעלי-החיים הכלואים.
את ניצני האוטומציה אפשר לזהות עוד קודם לשימוש במכונות – בארכיטקטורה של המבנים. החל בשלב מוקדם בהיסטוריה של הכליאה החקלאית, מערכות הניקוז של הפרשות ומים במכלאות נועדו לחסוך עבודת ניקיון לחקלאים. לרצפה המשופעת, שנועדה לניקוז שתן ותשטיפים, יש היסטוריה ארוכה מאוד; אך רצפת הטפחות היא ככל הנראה המצאה מודרנית. הכוונה היא למעין רצפה כפולה: החיות עומדות על פסי עץ שביניהם רווחים צרים, וההפרשות נופלות דרך הרווחים למפלס תחתון. שיטה זו, שעדיין מקובלת להחזקת "עגלי חלב", מתוארת בספר הדרכה חקלאי בריטי כבר ב-1802, "לוח-שנה ומדריך חודשי לחקלאי המודרני."
רצפת טפחות נועדה באופן מוצהר להגן על העגלים מפני התבוססות בהפרשותיהם והיא אכן עושה זאת במידה מסוימת של הצלחה. אולם למעשה היא נועדה לחסוך עבודה: רצפת הטפחות מבטלת את הכורח לנקות בתכיפות ומאפשרת להסתפק בניקיון תקופתי של המפלס התחתון. ללא טפחות, יש הכרח לספק לחיות מצע סופג ולהחליפו לעתים קרובות; אגב כך, המצע מספק לחיות רכות, אפשרות לוויסות חום (על-ידי התחפרות), ומשהו שניתן לנבור בו ולהתעסק בו. רצפת הטפחות, לעומת זאת, מקיימת רק פונקציה אחת תוך זניחת האחרות, בשם החיסכון בעבודה.
אם החיסכון נראה לנו כמניע מובן מאליו, כדאי לזכור שעבודה חקלאית רבה אינה הכרחית לחקלאות: העבודה הנדרשת להחזקת חיות במרעה חופשי מעטה ביותר בהשוואה לעבודה הנדרשת להחזקתן בתנאי כליאה. כך, ההפרשות של בעלי-חיים במרעה חופשי בשטח נרחב אינן מחייבות עבודה חקלאית – למעשה, הן עשויות להגביר את פוריות הקרקע. הכליאה, לעומת זאת, מחייבת הרבה יותר מהקמת קירות: מדובר בהחלפת האקולוגיה הטבעית באקולוגיה מלאכותית. במקום "ניהול" עצמי של החיות המשתלבות בסביבתן, החיות נכלאו במתחם שמחייב ניהול מבחוץ: להכניס לתוכו משאבים ולסלק פסולת. עומס העבודה העצום מהווה תמריץ להחלפת עבודת החקלאי בפעולות אוטומטיות.
בעוד שרצפת הטפחות שימשה ועדיין משמשת בכליאת חיות גדולות, כלובי תיל איפשרו להיפטר מהפרשות ביעילות גדולה עוד יותר בקרב חיות קטנות. בעזרת התיל הקל והנוח לעיצוב, וכן בזכות רמת היובש היחסית של לשלשת (זבל) עופות, הממציאים החקלאיים שחררו את מערכת הניקוז מהרצפה ופיזרו אותה לגובה. כבר בכלובים שהותקנו בקרונות ההובלה המוקדמים (למשל, בפטנט האמריקאי מס' 384913 משנת 1888) הונחו לוחות מתכת שניתן לשלוף אותם ולנקותם בין הכלובים הערוכים בסוללות במספר קומות.
מתקן פינוי מסתובב
כאשר גידול העופות הפך מעסק צדדי לתעשייה, הלולנים הוטרדו מהעבודה המושקעת בפינוי הלשלשת. ב-1896 רשם פרד דימוק מקליפורניה המצאה (פטנט 595121) שמשמשת בסיס לניקוי הלשלשת מכלובים עד היום, אף על-פי שהיא נועדה ללולים נטולי כלובים: מתחת למוטות העמידה של התרנגולות הונח מתקן איסוף לשלשת מסתובב. המתקן מורכב מיריעה המתוחה בין שני גלילים, וכאשר מסובבים גלגל, היריעה נעה בסיבוב אינסופי. בצד שאליו מסובבים את היריעה יש להב הנלחץ ליריעה ומקלף מעליה את הלשלשת לתוך מכל.
הרעיון נקלט באיטיות. הוברט הארט מקונטיקט, בהציגו המצאה דומה ב-1915 (פטנט 1165252), כתב על מצב הלולים בזמנו: "ההפרשות שלהן [של התרנגולות] נאספות על רצפת הסככות, ובמרווחי זמן קבועים פחות או יותר אוספים אותן בחביות או בכלי קיבול מתאימים אחרים. זה דורש עבודה וזמן. בזכות ההמצאה שלי, התגברתי על מכשולים אלה." לאחר 12 שנים, מוסברת המצאה דומה של אורה ריינווטר מוושינגטון (פטנט 1807932) אשר מציעה להשתמש ביריעות נייר משומן ומחוטא לפינוי הלשלשת: "ניסיונות רבים נערכו לבנות לוח לשלשת מעשי ומתנקה-מעצמו, כדי לפטור את הלולן מהעבודה השחורה הבלתי נעימה ביותר שקשורה בעסק, אולם נמצא שקשה לבנות מתקן כזה מחומרים זולים ושבו-בזמן יהיה קל להפעילו."
פינוי לשלשת בכלובים
רוב לולי הסוללות שפותחו החל מסוף שנות ה-20, כללו מתקנים אוטומטיים דומים לפינוי לשלשת. באותה תקופה השימוש בחשמל בלולים כבר היה בגדר אפשרות מעשית, ובמתקנים הראשונים הייתה אפשרות הפעלה חשמלית שצוינה כבדרך-אגב, אולי מכיוון שהלולים לא היו ענקיים ולכן לא נדרשה הפעלה רציפה של המתקן. התפשטות האוטומציה של פינוי הלשלשת התעכבה יחסית לאוטומציה של חלוקת המים והמזון. רק ב-1958, בהמצאה שהגיש וונדל קול מקליפורניה לרישום (פטנט 2987038) חוברו יחד את כל פונקציות התנועה האוטומטיות בלול הביצים: חלוקת מים, חלוקת מזון, איסוף ביצים ופינוי לשלשת. לדברי וונדל, אחת ממטרות המצאתו היא "לספק מתקן לפינוי אוטומטי של זבל מסוללות הכלובים, ובכך לצמצם במידה ניכרת את הוצאות העבודה וגם להקטין את שטח הפינוי שיש לספק בין כלובים המונחים זה על זה אנכית." זוהי דוגמה לאופן שבו מאפשרת האוטומציה הגדלה של הצפיפות בבניין.
כיום ממשיך פיתוח מערכות אוטומטיות לפינוי לשלשת. למשל, אחת מהחברות הגדולות לציוד לולים, Big Dutchman, משווקת כלובי סוללה הדומים למדי לפיתוח של קול. בתחום של פינוי הלשלשת, השכלול הבולט ביותר בדגם לול UniVent של החברה הוא החיבור למערכת האוורור האוטומטית – האוויר מוזרם במדויק על הלשלשת הטרייה כדי לייבש אותה. עם זאת, ואף על-פי שהאוטומציה בתחום זה ותיקה מאוד, עדיין ניתן לראות בישראל ובמדינות אחרות לולי סוללות רבים שאין בהם שום מתקן אוטומטי כזה. גם בלולים אלה, הלולנים נאמנים לעיקרון של חיסכון בעבודה: הם פשוט מאפשרים לתלוליות ענקיות של לשלשת להצטבר מתחת לכלובים; בלא מעט לולים (כפי שנחשף בקנדה לפני שנים אחדות) הסוללות אפילו מונחות זו מעל זו והלשלשת מהכלובים העליונים נופלת על התרנגולות שכלואות מתחת, עד שהן סובלות מגירויים בעור ומפצעים מזוהמים.
מעבר לתעשיית הביצים
האוטומציה בפינוי ההפרשות פסחה על תעשיית בעלי-החיים הגדולה ביותר – תעשיית בשר העופות, שהתפצלה מתוך תעשיית הביצים. סיבה אחת לכך היא שגידול עופות לבשר בתוך כלובים לא הצליח כלכלית והם נותרו על הקרקע, ללא מניפולציות ארכיטקטוניות. סיבה נוספת היא שגידול העופות הפך בהדרגה להיות כה מהיר, עד שהם נשלחים לשחיטה בהיותם בני 7-6 שבועות ואף פחות מכך, וכמות הלשלשת שמצטברת על קרקעית הלול נותרת מוגבלת. לאחר המשלוח למשחטה מסלקים את המצע המזוהם, מחטאים את רצפת הבטון ומפזרים מצע חדש עבור הלהקה הבאה.
לסיום, נזכיר שתעשיות החלב והחזירים, שאמנם לא עברו לגידול בכלובי סוללה על כל האוטומציה הקשורה בכך (מלבד גידול זמני של גורי חזירים בכלובים), מייצרות הרבה יותר הפרשות נוזליות מתעשיות העופות, ולכן הן מציבות אתגרים אחרים לפרויקט האוטומציה. במהלך רוב ההיסטוריה של ענפים אלה התמקדה הטכנולוגיה החקלאית במערכות ניקוז, ורק בשנות ה-30 של המאה ה-20 החל באטייות להתפתח עניין בשאיבה אוטומטית של הזבל הנוזלי.
אוכל ומים ללא מגע יד אדם
לפני התיעוש
בעלי-חיים בסביבתם הטבעית דואגים לעצמם יפה למים ולמזון. חיות מבויתות, לעומת זאת, הובאו לאזורי אקלים מרוחקים, שם לעתים קשה להן למצוא מזון ומים. כליאת החיות בשטחים מגודרים או במבנים חייבה כמעט תמיד לספק להן לפחות חלק מהמזון והמים באופן מלאכותי. במשק האירופי הביתי שלפני תיעוש החקלאות, אמנם הניחו לחיות רבות ללקט בחופשיות מזון טבעי בעונות המתאימות, בשילובים שונים עם שאריות מטבח ומספוא מיוחד. חזירים ועופות עברו לעתים פיטום אינטנסיבי בתאים קטנים, הכרוך כמובן בעבודה רבה וראוי לדיון נפרד.
ניצני האוטומציה הופיעו בשגרת המשק היומיומית עוד בטרם התגבשה תעשייה של ממש. למשל, בקובץ סקוטי של מאמרים חקלאיים מ-1829, נכלל "דיווח על מתקן האכלת עופות משופר מברזל" מאת ג'ון ביירד ובצירוף איור (עמ' 405):
מתקן זה (שאולי קדמו לו מתקנים אוטומטיים אחרים) כולל בתוכו היבטים של האוטומציה בתחום חלוקת המזון והמים, שישלטו בחקלאות במשך למעלה ממאה שנה לאחר מכן. עבודת האיכר (וסביר יותר במקרה זה – עבודת האיכרה, שכן הטיפול בעופות לפני התיעוש נעשה בעיקר על-ידי נשים) הועברה ברובה לידי המתקן. במקום כוח אדם, שני כוחות אחרים מניעים את המתקן: הגרביטציה – שדוחפת גרגרים מהמכל הגדול לתוך האבוס ברגע שמתפנה שם מקום; והחיות עצמן – שלומדות להפעיל לחץ על דוושה כדי לגרום למנגנון לשחרר מזון שאינן יכולות להגיע אליו ישירות (למשל, על-ידי ניקור המכסה). התכנון ההנדסי המדויק יצר מערכת אקולוגית מלאכותית, המקיימת חיות באופן סלקטיבי וללא מגע יד אדם, כמעט. אם המתקן פועל כהלכה, האיכרה לא נדרשת עוד לפזר מזון, לגרש חיות זרות, לנקות, לכסות וכדומה. לכאורה, מלבד ההשקעה הכספית בתבואה ומילוי המתקן מדי פעם, לא נותר אלא "לקצור את היבול" – לנצל מבלי לטפל, בדומה לניצול חיות במרעה חופשי לחלוטין.
אכילה והתעמלות
המתקן הסקוטי מתוחכם יחסית לרוב מתקני ההאכלה שנמצאו בשימוש כמאה שנה אחריו. הפטנט העיקרי שהשתרש הוא החזקת תבואה במכלים גדולים בעלי תחתית דמוית-משפך, שדרכה זורמת התבואה לתוך האבוסים. הצלחת המתקנים האלה בהרחקת החקלאי מהמשק לא הייתה מושלמת, כי מתקנים שונים לא מנעו היטב זיהום מלשלשת וחדירת מים.
ניצול כושר הלמידה של העופות להפעלת מנגנונים מכניים פשוטים התעורר בראשית המאה ה-20, במחשבה שהתרנגולות הכלואות זקוקות להתעמלות מבחינה בריאותית או נפשית. במשך למעלה משני עשורים פורסמו המצאות כאלה, של "מכשירי עימול" (exerciser). נזכיר כאן המצאה אחת כזו בזכות העניין שבה, אם כי נראה שהיא לא זכתה להצלחה.
"מאכיל ומעמל עופות אוטומטי" של הנרי ה. האנום ממדינת ניו יורק (פטנט 833717) משנת 1906 מופעל על-ידי מתקן עמידה שהתרנגולת ניתרה עליו. משקל התרנגולת מפעיל כבל, המחובר למכל תבואה התלוי במרחק כמה מטרים משם, וכתוצאה מכך נפתחת דלת המכל ומשתחררת כמות קבועה של גרעינים. חרוט פח התלוי מתחת לגרעינים הנופלים משמיע קול אופייני כשהם נופלים עליו ומפזר אותם על הקרקע. התרנגולת (ומן הסתם גם תרנגולות אחרות ששמעו את קול נפילת הגרעינים) צריכה אפוא להתהלך ולחפש את מזונה. האנום מציע להציב את המתקנים האלה בזוגות זה מול זה, כך שבמהלך חיפוש הגרגרים שנפלו עם הפעלת המתקן הראשון, התרנגולת תנתר על מתקן העמידה השני – וכך תיפול שוב מנת מזון בצדו השני של הלול. המדובר אפוא במתקן שמחליף את האיכרה לא רק באספקת המזון, אלא גם בכך שהוא "קורא" לתרנגולות לבוא לאכול ומוליך אותן "אחריו". המצאות כאלה, המנסות לענות באופן מלאכותי על צרכים התנהגותיים של החיות, נכחדו עם העלייה ברמת התיעוש של משק העופות (הנושא שב להיות אקטואלי רק בדור האחרון, בעקבות רפורמות רווחה).
המים זורמים למטה
כוח הגרביטציה היווה בסיס לראשית האוטומציה גם באספקת מים לחיות. מאחר שמים מזדהמים ביתר קלות ממזון ועלולים להפיץ מחלות, אספקת מים טריים לשקתות פתוחות היא עבודה אינטנסיבית אף יותר מאספקת מזון. ככל הנראה, בנוסף לכך, נראה שההסתמכות הגוברת על מזון יבש במקום ריבוי המזון הלח במשק הביתי (לפחות בעופות) הגבירה את הצורך בהשקיה. תנאים אלה היוו אפוא תמריץ ברור לאוטומטיזציה. ב-1884 פורסם בארצות-הברית פטנט (מס' 294932) למתקן שתייה לעופות, הדומה במראהו לפעמון המוכר מתקופות מאוחרות יותר. אולם למעשה מדובר במכל מים שברז קטן מותקן בחלקו התחתון, והמכל מוקף בתחתיתו במעין צלחת, שאליה נשפכים המים. זהו מתקן דומה למיחם (סמובר) המוחזק כיום במשרדים רבים: מיקום הברז בחלקו התחתון של המכל מקל מאוד על מילוי כוסות משקה, אך אדם חייב לפתוח ולסגור את הברז בכל פעולת מילוי.
מים ולחץ אטמוספרי
מן הסתם, הפטנט שלעיל התבסס על רעיון שכבר נעשה בו שימוש נרחב בעבר. אולם בשנה שלאחר מכן המציא אלכסנדר ק. בייטס ממסצ'וסטס מתקן השקיה אוטומטי (פטנט 328749): מכל מים שבחלקו התחתון יש פתח המחובר לשוקת, והמים עוברים מהמכל לשוקת באופן חופשי. כמות המים שעוברת לשוקת מוגבלת לגובה הרצוי על-ידי הלחץ האטמוספרי (לחץ האוויר על פני המים) עקב התאמה בין גובה השוקת, גובה הפתח למעבר המים וגובה צינור פתוח שנמצא בתוך המכל. התוצאה: ברגע ששותים מהמים שבשוקת, מיד עוברים מים בכמות זהה מתוך המכל אל השוקת, עד שהמכל מתרוקן. כך ניתן אפוא להימנע ממילוי שקתות יומיומי ולהסתפק במילוי תקופתי של המכל – זאת לפחות באופן עקרוני, כי זיהום המים ותקלות אחרות המשיכו לעכב את הרחקתם המלאה של עובדי המשק מהחיות.
מתקני שתייה נוספים המתבססים על הלחץ האטמוספרי פותחו במשך עשרות שנים לאחר ההמצאה שלעיל. פטנט 2800878 של ג'ון ס. פטרסון מאיווה הוא אולי הפיתוח האחרון מסוג זה בארצות-הברית. ההצעה הוגשה ב-1955, ושם נכתב:
החידוש של פטרסון הוא רק בשחרור המשאית למשימות אחרות – הוא תכנן מכלית המוצבת על גלגלים נפרדים ונגררת מאחורי רכב משא. אם כן, בתקופה כה מאוחרת בהתפתחות תעשיות בעלי-החיים, אנשי התחזוקה של המשק עדיין עסקו בהובלת מים פרטנית למשקים וחיברו כל מכלית בנפרד למערכת מתקני המים. אין ספק שעבודה כזו שונה מאספקת מים ללהקה ביתית קטנה, אולם עדיין מדובר בשיטה מסורבלת, שקשה ליישם במשקים ענקיים.
הקדמה לתיעוש מלא
השימוש בלחץ האטומוספרי לא איפשר את רמת האוטומציה הדרושה בלולים של רבבות עופות. הרחקת העובדים מלולי הענק דרשה המצאה אחרת, ותיקה כמעט כמו מתקני הלחץ האטמוספרי. ואילו בתחום מתקני המזון, השיטה הבסיסית שתוארה לעיל – האכלה באמצעות מכל מזון גדול ומוגבה שמזון נשפך ממנו לאבוס שמתחתיו – המשיכה להתפתח עד ראשית שנות ה-50, אז הוחלפה גם היא ברמת אוטומציה הרבה יותר גבוהה. עם זאת, מידה מסוימת של הפעלה אוטומטית בשיטות הישנות שרדה לעתים בתעשיות החזירים והבקר.
אוכל מהיר ומים בלחץ
לקראת האחדה
מאפיין מרכזי של כל מתקני האכילה והשתייה שסקרנו עד כה הוא העובדה שהם נפרדים זה מזה. אפשר להקים בעזרתם משק גדול אם מפזרים בו מתקנים רבים כאלה וממלאים אותם אחד-אחד. עבודה כזו אינה דומה לטיפול בחיות במשק משפחתי קטן – מדובר באחזקת מתקנים, בסבלות או בנהיגה. מנקודת המבט החקלאית-תעשייתית, מדובר בבזבוז זמן עבודה יקר. הציוד האוטומטי "המושלם" צריך לפעול בכל המשק כמערכת אחת ולהפוך את העובדים החקלאיים למיותרים.
מים בקרונות הובלה
כמו בתחומי אוטומציה רבים במשק החקלאי, כך גם בתחום אספקת מים, הניסיונות העקביים המוקדמים ביותר לבניית מערכת אוטומטית כוללת נערכו ברכבות האמריקאיות ברבע האחרון של המאה ה-19. בתנאי הצפיפות והבהילות של הובלת חיות ברכבת למשחטות מרוחקות, נוצר לחץ להאכיל ולהשקות את החיות במהירות המרבית. אם במשק היעדר מתקן יעיל גרר זמן עבודה נוסף, הרי שברכבת פשוט העדיפו להצמיא ולהרעיב את החיות אם היה צורך להורידן מהקרון כדי להאכיל ולהשקות אותן. ג'ורג' ברטון מניו המפשייר הסביר ב-1880 מדוע המציא מתקני שתייה ומים המאפשרים לחיות לשתות ולאכול בתוך הקרון (פטנט 251695):
למעשה, כבר ב-1876 נרשם פטנט על שוקת שהוצבה בתחנה, לאורך הרכבת, ואיפשרה לחיות לשרבב ראש החוצה מהקרון ולשתות. המערכת נועדה ל-40 קרונות לפחות, וככל הנראה היא נועדה למילוי בבת-אחת.
סביב 1880 הומצאו עשרות מתקנים המאפשרים להשקות ולהאכיל בקר, חזירים וכבשים בתוך הקרון. השיטה הבולטת ביותר התבססה על מכל מים גדול שהותקן בגג הקרון (מעליו או תלוי מתחתיו) ועל מערכת צינורות שפיזרה מים בו-זמנית לכל השקתות שבקרון ברגע שפתחו את שסתום המכל.
שיטה זו שימשה גם להשקיית חזירים וכבשים ברכבות, וכאן נדרשו מערכות מסועפות יותר כי חיות אלה הובלו בשני מפלסים. ההשקיה נכשלה לעתים קרובות בגלל הצפיפות העצומה שבה הוחזקו החזירים, עד שלא יכלו להגיע למים. המערכות הסתעפו עוד יותר בהובלת עופות. פטנט שרשם ג'יימס נולן מדטרויט ב-1890 (מס' 425241) מתאר הובלת מים בו-זמנית ל-72 כלובים, הערוכים בארבעה מפלסים.
ממתקן שתייה למערכת צינורות
השליטה הכוללת במערכת ההשקיה התקדמה לאט יותר במשקים החקלאיים עקב לחץ עבודה מתון יותר, חופש תנועה יחסי של החיות בדרכן לשתות ולאכול, ומרחקים הרבה יותר גדולים להזרמת מזון ומים. אפילו כלובים לפיטום עופות תוכננו בנפרד ולא בתור לול אחד. במשך כיובל שנים לאחר הקרון של נולן להובלת עופות, פותחו למעלה ממאה מתקנים להשקיית עופות במשק, וכמעט כולם תוכננו כמתקן בודד. השקיית עופות נתפסה עדיין במידה רבה כטיפול (husbandry) ולא כמרכיב בניהול מפעל; רק בודדים מבין המהנדסים החקלאיים חשבו על הלול כמערכת אחת המרושתת בצינורות. פטנט ראשון מטיפוס זה (מס' 428838) אמנם פורסם במקביל לקרון של נולן, אך לא עורר עניין רב: מכל מים מוגבה המחובר לצינור תת-קרקעי, שממנו יוצאים במרווחים מסוימים צינורות אנכיים עם גביע בקצה כל צינור; גובה המים בגביעים נקבע לפי כמות המים שהוזרמה לצינור התת-קרקעי.
מצוף-שסתום
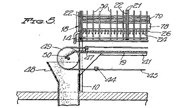
ויסות זרימת המים נותר מסורבל ללא שימוש בשסתום אוטומטי. שסתום כזה הוצע לשימוש במשקי בעלי-חיים כבר ב-1873, במתקן שתייה לסוסים (פטנט 138659). העיקרון משמש עד היום ב"ניאגרה" של השירותים: מכל ההדחה מתמלא במים הזורמים באופן חופשי מברז פתוח, שבקצהו שסתום; במכל יש מצוף המחובר לשסתום; ככל שעולים פני המים במכל, כך עולה איתם המצוף ודוחף את השסתום, עד לסגירת הברז. המצאה זו, הפוטרת את עובדי המשק מפתיחת ברזים ומסגירתם, הפכה לגורם משמעותי בתיעוש משקי בעלי-החיים. התפתחות טכנולוגית מכרעת אחרת היא אספקת מים למשק בצינורות ובלחץ, במקום שימוש במכלים קטנים ומוגבהים. הטכנולוגיה הייתה קיימת כבר לפני ההגדלה הדרמטית במספר החיות במשק.
ב-1914 רשם נפי ג'קסון מנבאדה מערכת שמקבלת מים מצינור חיצוני לתוך מכל המהווה מאגר ביניים למים (פטנט 1148778). כניסת המים למכל מווסתת על-ידי מצוף ושסתום. מן המכל יוצא צינור (או מספר צינורות) שממנו בולטים כלפי מעלה במרווחים מסוימים צינורות צרים יותר, שבקצה שלהם גביע ומקום לעמידה לעופות. גובה המים בגביעים נשמר בהתאמה עם גובה מאגר הביניים. ג'קסון הסביר את מטרות המצאה שלו:
ההמצאה של ג'קסון מאפשרת לבנות לול תעשייתי; אך ב-1914, מסתבר שאפילו 28 נקודות שתייה נחשבו עדיין כמערכת ניסיונית.
מים בכלובים
רק ב-1940 בקירוב החל הדגש בתחום פיתוח מתקני השתייה לעופות לעבור ממתקנים מבודדים למתקנים שכל אחד מהם מהווה יחידה אחת על פני ציר בלתי מוגבל של נקודות שתייה המחוברות ביניהן. בתקופה זו הגיעו מתקני השתייה האוטומטיים גם לכלובי תרנגולות. אלמר איגרהאם מניו המפשייר פיתח את אחד מהדגמים המוקדמים של כלובי סוללה (פטנט 2309458). בהסברו לפטנט (שהוגש לרישום ב-1939) מתגלים לא רק האתגר הטכני, אלא גם תפיסה מגובשת של הלול כמפעל:
הסוללות שיוצרו עד כה לא סיפקו דרישות אלה. בחלק מהן, הסגירה הקדמית אפשרה לאחת המשוכנות לגנוב מאחרת או לריב איתה, ולעתים לברוח. בחלק היו מערכות שתייה שנסתמו, באחרות מערכת שבזבזה מים או נטתה להרטיב את המשוכנות. כל אחד מהפגמים האלה הופך את הסוללה כולה לבלתי ראויה."
הפתרון שמציע איגרהאם דומה מבחינה טכנולוגית למתקן של ג'קסון, שתואר לעיל, עם שכלול בולט: לכל סוללה (קומה) של כלובים הותקן מאגר ביניים משלה, המווסת את זרימת המים לגביעים הנמצאים בכל הכלובים באותה סוללה. באיור של אינגאהם מופיעות שתי סוללות, אולם השיטה מאפשרת הקמת סוללות נוספות.
טיפניות
אחת מהתקלות השכיחות במתקנים שלעיל, בעיקר כשצפיפות החיות גדולה – היא זיהום המים והפצת מחלות. הפתרון שהומצא לכך הוא לאפשר לעופות לשתות מים מטפטפים מתחת למתקן, במקום לטבול את המקור בגביע מים. רעיון זה מופיע בפטנט שפורסם ב-1931 (מס' 1811375), שם הוא נקרא "שסתום המופעל על-ידי גרביטציה" והוא מותקן בתחתיתו של מכל מים. השסתום בנוי מצינורית קצרה הפונה כלפי מטה, ומעין מסמר העובר דרכה וחוסם את נזילת המים מתוכה. המסמר אינו מהודק בתוך הצינורית – כל לחץ קטן, כגון נקירת תרנגולת, מזיז אותו מעט ממקומו ומאפשר בכך לטיפות מעטות לזלוג מטה, לפני שהמסמר שב לסתום את הפתח. הממציא, סטיוארט ווייסונג מקליפורניה, הדגיש את הקושי בבניית שסתום, שמחייב את העופות לשתות בתנוחה בלתי טבעית:
המצאה זו, שמכונה "טיפנית" (nipple drinker) מהווה מתקן זעיר בהשוואה לגביעים ולפעמונים הישנים, והיא מתאימה במיוחד לתיעוש לולים, עם המוני טיפניות בתחתיתם של צינורות מים מוגבהים. פטנט על טיפניות בצינורות מים נרשם שנה לאחר ההמצאה הקודמת, אך המצאה דומה התפשטה במהירות בתעשיית העופות רק לאחר 1986. כיום נפוצים מאוד בלולים צינורות עם טיפניות (ושסתומים דומים המותאמים לחיות כבדות יותר, מתרנגולי הודו ועד לחזירים) אם כי שיטות השקיה אחרות שכיחות אף הן. המערכות החדשות כוללות מתקנים לוויסות לחץ המים, לאיזון השיפוע של צינור המים, למדידה ממוחשבת של כמות המים שנצרכו, ועוד; אולם העקרונות שאיפשרו השקיה אוטומטית של רבבות עופות, קיימים כבר עשרות שנים.
האכלה בשרשרת
לסיום, נשוב למתקני ההאכלה האוטומטיים, שהעמידו בפני פרויקט התיעוש שני מכשולים אחרים: ראשית כל, קשה לפזר אוכל מוצק – שאינו זורם כמו מים; ושנית, החקלאים מעדיפים במקרים רבים שלא לאפשר לחיות לאכול כרצונן (הן מעדיפות לאכול יותר מהמינימום הנחוץ למטרות "ייצור" יעיל). על המכשול השני לא נתעכב כאן, כי פתרונו לא היווה תנאי מהותי להגדלת המשקים; רק נציין שכבר ב-1880 נרשם פטנט (מס' 224278) שהציע לחבר מנגנון של שעון מעורר למכסה של אבוס כדי לפותחו רק בזמן קבוע מראש, והממציא הבהיר שהמצאתו "מכילה מתקן משופר להעברת מזון אוטומטית לחיות בכל זמן שנקבע מראש ללא ההכרח בתשומת-לב אישית בעת ההאכלה."
חוסר האפשרות להזרים מזון מוצק, חייב את התעשייה החקלאית בראשיתה להתקין ממגורה נפרדת בכל נקודת האכלה ולהסתפק ברמת אוטומציה נמוכה. ב-1936, סוללת הכלובים המובהקת הראשונה שנרשמה כפטנט (מס' 2055110) כוללת ניסיון ראשוני לפזר את הגרעינים רחוק יותר כדי לאפשר הקטנה של האבוסים, שעד אז נהגו להשאיר בהם מזון ליומיים-שלושה. המתקן היה מעין כף התלויה על ציר ומיטלטלת בכוח מנוע חשמלי, תוך שהיא מסיעה את הגרעינים ממקום נפילתם עד לגבול אורך הכף. מובן שמתקן כזה לא איפשר בנייה של אבוסים ארוכים.
תוכנית אחרת הוגשה למשרד הפטנטים האמריקאי במספר גרסאות נפרדות ב-1950 (הראשונה פורסמה לאחר שנתיים כפטנט 2581725): בקצוות האבוס קבועים גלגלי שיניים, המסתובבים בכוח חשמלי; בין הגלגלים מתוחה שרשרת המסתובבת איתם בסיבוב אינסופי, ובתנועתה היא גוררת איתה את הגרעינים. כך יכולים הגרעינים "לזרום" לקצהו של אבוס מתוך ממגורה הניצבת מאות מטרים משם.

.jpg)

